 Ford Mondeo: Исключительно для двигателя на 85 кВт
Ford Mondeo: Исключительно для двигателя на 85 кВт
				
					85-кВт-ный вариант использует МАР-сигнал дополнительно к управлению давлением наддува в переменном турбонагнетателе. Как только фактическое измеренное значение отклоняется от заданного по параметрической характеристике в РСМ значения, РСМ регулирует давление наддува посредством соответствующего электромагнитного клапана.
Смотрите информацию страховой брокер 1с у нас.Расходомер воздуха (MAF): MAF-датчик работает по принципу нагретой проволоки. Он «вставлен» в воздухопровод позади воздушного фильтра и в основном управляет EGR-системой.
Датчик положения педали акселератора (АРР): для того чтобы изменять мощность двигателя в соответствии с положением педали акселератора, РСМ руководствуется данными о положении АРР-датчика. В принципе этот датчик работает аналогично потенциометру, который посредством трех скользящих контактов измеряет угловые перемещения педали акселератора. При отказе двух контактов двигатель работает только на повышенных оборотах холостого хода. В АРР-датчик встроен выключатель холостого хода и ножной выключатель. РСМ сравнивает сигнал от выключателя холостого хода с сигналом потенциометра на достоверность.
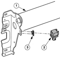
Датчик давления окружающего воздуха (BARO/только для двигателя 85 кВт): Датчик располагается в салоне, в левом кронштейне усилительного элемента передней стойки, за щитком приборов. Во избежание черного дыма он снабжает РСМ текущими значениями господствующего давления окружающего воздуха. На основе посылаемых сигналов бортовая ЭВМ корректирует давление наддува и фактический объем впрыскивания.

Закрепляется за щитком приборов: Датчик давления окружающего воздуха.
1 — Усилительный элемент на передней стойке, 2 — Датчик давления окружающего воздуха 
(BARO), 3 — Крепежный хомут.
Выключатель тормозного освещения и педали тормоза (ВРР): Сигнал от выключателя тормозного освещения включает тормозные фонари и «контролирует» АРР-датчик (проверка достоверности): при любом процессе торможения частота вращения двигателя автоматически падает до уровня холостого хода.
 Подробно – управление системой впрыскивания DuraTorg-DI
Подробно – управление системой впрыскивания DuraTorg-DI
   
Датчики и актуаторы под капотом двигателя Mondeo с DuraTorg-DI 85 кВт
1 — СНТ-датчик, 2 — EGR-клапан, 3 — СКР-датчик, 4 — MAF-датчик, 5 — Т-МАР-датчик, 
6 — Электромагнитный клапан рециркуляции от ...
    Mondeo с системой регулирования скорости
Mondeo с системой регулирования скорости
   Для того чтобы не останавливать систему регулирования скорости уже при «ничтожном» 
давлении на педаль тормоза, на передний план выступает ВРР-выключатель с длинным 
путем срабатывания. Вначале его  ...
   Другое на сайте:
АМОРТИЗАТОРНАЯ СТОЙКА - РАЗБОРКА
   	1. Снять амортизаторную стойку с автомобиля (см. выше).
2. Зажать специальное приспособле ние для сжатия пружины амортизаторной стойки 
в тиски, как показано на рмсунке.
З. Завести второй виток ...
   	
Регулировка троса переключения передач
   	
Установка рычага выбора передач на коробке передач в положение Р (1) и N (2)
Регулировка троса переключения передач Для регулировки троса переключения 
передач освободите фиксаторы (стрелки) и п ...
   	
Давление в шинах
   	На автомобиле "Мазда-626" устанавливаются шины и диски различных размеров. В 
таблице представлены возможные сочетания шин и дисков.
В данной таблице указаны лишь некоторые из возможных ко ...
   	









