Volkswagen Passat: Двигатель стеклоочистителя ветрового стекла

Стеклоочиститель ветрового стекла
1 – болт, 2 – тяги, 3 – гайка, 4 – кривошип, 5 – щетка стеклоочистителя, 6 – рычаг стеклоочистителя, 7 – колпачок, 8 – гайка, 9 – двигатель, 10 – кронштейн

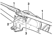
Элементы привода механизма стеклоочистителя
1 – тяги стеклоочистителя, 2 – кривошип двигателя, 3 – болты крепления двигателя стеклоочистителя
Снятие
ПОРЯДОК ВЫПОЛНЕНИЯ
1. Выключите зажигание и снимите провод массы с аккумулятора. 2. Снимите рычаги стеклоочистителей. 3. Снимите решетку воздухозаборника. 4. Отвинтите винты и снимите крышку электронного блока под ветровым стеклом.5. Отвинтите гайку, расположенную внутри электронного блока.
6. Отвинтите гайку, расположенную сбоку электронного блока, приподнимите блок с резиновой прокладки и переместите его вперед.
7. Отсоедините многоконтактный электрический разъем от двигателя стеклоочистителей. 8. Отвинтите три болта, крепящие механизм стеклоочистителей к кузову автомобиля и снимите механизм стеклоочистителей с автомобиля.
9. Снимите тяги стеклоочистителей с кривошипа двигателя, см. рис. Элементы привода механизма стеклоочистителя. 10. Отвинтите гайку крепления кривошипа к валу электродвигателя, при этом удерживайте кривошип от проворачивания. Перемещая кривошип в стороны, снимите его с посадочного конуса вала электродвигателя. 11. Отвинтите три болта и снимите двигатель с кронштейна стеклоочистителей. Установка
ПОРЯДОК ВЫПОЛНЕНИЯ
1. При установке нового двигателя стеклоочистителя установите его в исходное положение. Для этого подсоедините к двигателю стеклоочистителя многоконтактный электрический разъем и подсоедините провод массы к аккумулятору. Включите и выключите режим работы стеклоочистителей, при этом двигатель стеклоочистителя установится в исходное положение. Снимите провод массы с аккумулятора и отсоедините от электродвигателя стеклоочистителя электрический разъем. 2. Установите электродвигатель на механизм стеклоочистителей и закрепите болтами, затянув их моментом 10 Нм. 3. Установите на вал электродвигателя кривошип в такое положение, чтобы он находился на одной линии с тягами стеклоочи стителей. Затяните гайку крепления кривошипа моментом 20 Нм. 4. Закрепите на кривошипе тяги стеклоочистителей. 5. Вставьте механизм стеклоочистителей в автомобиль и закрепите болтами. 6. Установите электронный блок на место и закрепите его гайкой и болтом. 7. Установите крышку на электронный блок и закрепите ее винтами. 8. Установите решетку воздухозаборника. 9. Установите рычаги стеклоочистителей и закрепите их гайками, затянув их моментом 15 Нм. 10. Подсоедините провод массы к аккумулятору. 11. Проверьте работу стеклоочистителей.
Проверка обогревателя заднего стекла
Обогреватель заднего стекла представляет собой множество горизонтальных проводников,
напыленных на внутреннюю поверхность заднего стекла. Для обнаружения разрыва проводника
обогревателя заднего ст ...
Двигатель стеклоочистителя заднего стекла
Стеклоочиститель заднего стекла
1 – откидной кожух, 2 – гайка, 15 Нм, 3 – рычаг стеклоочистителя, 4 – уплотнительная
втулка, 5 – сопла омывателя, 6 – уплотнительное кольцо, 7 – двигатель стеклоо ...
Другое на сайте:
Замена фильтров системы кондиционирования воздуха
(каждые 48 000 км [30 000 миль] пробега или раз в 24 месяца)
В стандартную комплектацию рассматриваемых в настоящем Руководстве моделей
входит система дополнительной безопасности (SRS), более извес ...
МЕРЫ ПРЕДОСТОРОЖНОСТИ ПРИ ОПРЕДЕЛЕНИИ УТЕЧЕК ПРИ ПОМОЩИ КРАСИТЕЛЯ
• Кондиционер содержит флуорес центный краситель, используемый для обнаружения
мест утечек хладагента.
При проверке потребуется ультрафио летовая (UV) лампа для освещения кра сителя.
• Всегда на ...
ЗАПРОГРАММИРОВАННЫЕ КЛЮЧИ
Примечание: Не допускайте экранировки ключей металлическими предметами.
Это может нарушить процесс распознавания ключа приемником.
Примечание: Если вы потеряете ключ, остальные ключи будет необходи ...
