Ford Mondeo: Защищают ноги водителя – защитные педали

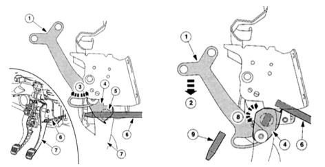
До – после: педаль в нормальном состоянии (А) – после столкновения (В).
1 — Разделительный рычаг, 2 — Рычаг направления движения, 3 — Направление движения
во время процесса торможения, 5 — Прием толкающей штанги ГТЦ, 6 — Толкающая штанга
ГТЦ, 7 — Педаль тормоза, 8 — Направление движения во время столкновения, 9 — Разбитая
толкающая штанга ГТЦ (конец торможения).
На информацию от самых современных Crash-датчиков в Mondeo реагируют двухступенчатые передние, а также боковые, головные и заплечиковые подушки безопасности. Активные подголовники (спереди), ремни безопасности с трехточечным креплением на всех сиденьях, а также преднатяжители ремней безопасности и зависимый от нагрузки ограничитель усилия ремня (спереди) дополняют «вооружение» средств безопасности Mondeo. Ну а для того чтобы и ноги водителя получили соответствующие «шансы на выживание», были «обезврежены» возможные места изломов педали тормоза Mondeo: при тяжелом фронтальном столкновении она «без сопротивления» отцепляется и падает на днищевой лист.
По «размерам» здесь все также хорошо согласовано. И для малых детей в «Isofix-возрасте», само собой разумеется, найдутся в Mondeo «свои» сиденья, и их можно зафиксировать отдельно от родителей на задних сиденьях.
Функциональность, со вкусом оформленные средства управления и высококачественные материалы определяют атмосферу салона Mondeo: каждая деталь тонко отшлифована – визуально и качественно. Например, приборная панель: ее внешний вид из прекрасно оформленных приборов и плавно встроенной средней консоли очень впечатляет, а симпатичные ручки из искусственных материалов свидетельствуют о том, что Ford помимо оптики открыл к тому же и Haptik как возможный аргумент для покупки. Салоны версий Ambiente и Trend, а также модели с интерьером из кожи выполнены со вкусом в единых тонах – только топ-модели с эмблемой Ghia имеют горизонтально разделенную цветовую гамму.
До всех основных выключателей и элементов управления водитель добирается, непосредственно сидя перед рулевым колесом: аналоговые часы, аудиосистема (по желанию с панелью управления на рулевом колесе), а также АС-панель располагаются на средней консоли. Кроме того, своими новыми одеждами «блистает» и багажное отделение, оно «проглатывает» громоздкие вещи своим плоским погрузочным полом и «приковывает» к боковым стенкам ящик с медикаментами и знак аварийной остановки. Вне всякого сомнения, все эти новинки во втором «издании» Mondeo влияют на ее продажную цену.
Мы сознательно рекомендуем там только те работы по техобслуживанию и ремонту, которые не предъявляют чрезмерных требований к сведущим любителям.
Почему мы вообще столь подробно останавливаемся здесь на «внутренней архитектуре» – ранее такого не «происходило», а сегодня стало все больше, или это не стоит делать? А если все-таки подумать?! Стеклоподъемник с электроприводом в двери водителя, например, редко «проживет» полную жизнь автомобиля. А «ложная» лампа в салоне или «изношенное» зеркало заднего вида конфронтируют иногда чаще с вашим «ящиком для инструментов», даже если он мог быть вашим любимчиком. Однако далее мы все-таки коротко и ясно расскажем вам, когда и где профессионалы должны стать вашими первыми помощниками.
Изъяны в работе над вашим Mondeo, разумеется, неявно не просматриваются: наконец, самопомощь оправдана не только при появлении неисправностей и во время ремонта – всегда ухоженный автомобиль поднимает вам и вашему соседу хорошее настроение. А впоследствии, если придется перепродавать своего «коня», систематически ухоженный салон создает у покупателя не только хорошее впечатление, но и дополнительно добавит к его стоимости еще пару сотен евро.
IPS-компоненты
К IPS Mondeo относятся адаптивные двухсекционные подушки безопасности для водителя
и соседнего пассажира, включая систему распознавания, которая анализирует уровень
аварийной ситуации, положение с ...
Вентиляция и отопление
Часть встречного воздушного потока проходит через вентиляционную решетку перед
передним стеклом и попадает затем по системе воздухораспределения внутрь автомобиля
к соответствующим вентиляционным ...
Другое на сайте:
Суппорт переднего тормоза
Предупреждение При установке необходимо использовать новые уплотнительные шайбы
под соединительный болт тормозного шланга.
МОДЕЛИ СО СПЛОШНЫМИ ДИСКАМИ Снятие
ПОРЯДОК ВЫПОЛНЕНИЯ
1. При наличии сн ...
Снятие и установка ресивера-осушителя К/В
Система кондиционирования воздуха постоянно находится под высоким давлением.
Ни в коем случае не отсоединяйте рефрижераторные линии и не снимайте никакие компоненты
системы, предварительно не выпо ...
Удаление воздуха из гидравлического тракта системы усиления руля
ПОРЯДОК ВЫПОЛНЕНИЯ
1. После выполнения любых процедур, связанных с отсоединением линий гидроусилителя,
из гидравлического тракта PAS необходимо удалить воздух. В противном случае эффективность
...
