Opel Vectra: Выключающий клапан системы уменьшения токсичности
Снятие
ПОРЯДОК ВЫПОЛНЕНИЯ
1. Снимите провод массы с аккумулятора.2. Отсоедините электрический разъем от клапана.
3. Промаркируйте и отсоедините от клапана вакуумные шланги.
4. Отвинтите два болта и снимите с кронштейна выключающий клапан системы уменьшения токсичности.
Установка

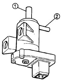
Выключающий клапан системы уменьшения токсичности 1 – соединение к вакуумному
шлангу вакуумного усилителя тормозов; 2 – соединение к клапану отсечки
ПОРЯДОК ВЫПОЛНЕНИЯ
1. Установка производится в последовательности, обратной снятию.2. Проверьте правильность и надежность подсоединения вакуумных шлангов
Клапан отсечки системы уменьшения токсичности
Снятие
Клапан отсечки уменьшения токсичности выхлопных газов 1 – соединение к воздушному
насосу; 2 – соединение к выключателю воздушного клапана; 3 – соединение к однонаправленному
клапану
П ...
Трубка и однонаправленный клапан системы уменьшения токсичности
Предупреждение При установке необходимо использовать новые шайбы воздушного патрубка.
Снятие
ПОРЯДОК ВЫПОЛНЕНИЯ
1. Снимите воздушный шланг однонаправ ленного клапана.
2. Отвинтите болты, крепящ ...
Другое на сайте:
Снятие и установка передних сидений
Снятие и установка передних сидений 1 - разжимные фиксаторы; 2 - крышки;
3 - винты (45 Нм); 4 - крышка (внутренняя); 5 - гайка (45 Нм); 6 - крышка (наружная,
со стороны дверей); 7 - винт (45 Н ...
Датчик температуры поступающего в двигатель воздуха на более поздних моделях
Снятие
ПОРЯДОК ВЫПОЛНЕНИЯ
1. Снимите провод массы с аккумулятора.
2. Отсоедините электрический разъем от датчика температуры поступающего в двигатель
воздуха.
3. Ослабьте хомуты и снимите главн ...
Дополнительные ключи
Дополнительные ключи и дубликаты утерян ных ключей можно заказать на СТОА BMW. ...
