Nissan Primera: Углы установки задних колес
Развал задних колес установлен на заводе и регулироваться не может. Схождение задних колес следует измерить, если снимаются поперечные или продольный рычаги. Схождение регулируется с помощью регулировочного устройства на внутреннем креплении поперечных рычагов. Измерьте схождение, как было описано в главе Подвеска и рулевое управление. Если значение лежит вне пределов от -2.0 до +2.0 мм, выполните следующую регулировку: ПОРЯДОК ВЫПОЛНЕНИЯ Установите заднюю часть автомобиля на опоры.
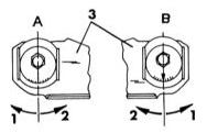
Найдите головки обоих внутренних болтов крепления поперечных рычагов и нанести отметки кернером, пометив положение болтов.

Смещение болтов на внутренней стороне поперечных рычагов. Направление смещения
левого рычага (А) и правого рычага (В) противоположно
1 — направление смещения для получения отрицательного схождения 2 — направление смещения для получения положительного схождения 3 — параллельные рычаги
Ослабьте гайки обоих болтов и поверните болты, чтобы изменить схождение. Каждое деление головки болта изменяет схождение на 2.0 мм. Так как смещение болтов взаимно-противоположно, следует придерживаться иллюстрации и следующих указаний: На правом рычаге вращайте болт вправо, чтобы получить отрицательное схождение и влево, чтобы получить положительное.
На левом рычаге вращайте болт вправо, чтобы получить положительное схождение и влево, чтобы получить отрицательное.
Для обоих регулировочных устройств предполагается, что на обе головки болтов смотрят с задней части автомобиля.
После смещения болтов снова разместите их внутри упорной пластины (1) (см. иллюстрацию) и затяните гайки с требуемым усилием.
Проверьте схождение. Возможно придется произвести дополнительную регулировку.
Задние ступицы и подшипники ступиц
Снятие тормозного барабана/диска и ступицы
Снятие тормозного барабана вместе со ступицей. Внешний подшипник ступицы (1)
следует придерживать пальцем.
Чтобы проверить подшипники задних ступиц ...
Рулевое управление без гидроусилителя
Все рассматриваемые в данном руководстве автомобили оснащены рулевым управлением
с зубчатой рейкой. Соединение от зубчатой рейки осуществляется непосредственно на
рулевые рычаги на поворотных кула ...
Другое на сайте:
Снятие и установка наконечника рулевой тяги/пылезащитного чехла/гофрированного
чехла
Снятие и установка наконечника рулевой тяги/пылезащитного чехла/гофрированного
чехла 1 - шплинт (заменять новым), 2 - гайка (40 Нм), 3 - пылезащитный чехол,
4 - шаровой палец шарнира тяги, 5 - ...
Проверка с помощью универсального прибора – датчик частоты вращения
С помощью измерения сопротивления (универсальный прибор, смотрите также главу
Электротехническое оборудование) проверяется функционирование датчика частоты вращения.
Чтобы убедиться в том, что отс ...
Сепаратор паров топлива (модели 1,6 и 1,8 л)
Сепаратор паров топлива закреплен на кронштейне сбоку карбюратора.
Снятие
ПОРЯДОК ВЫПОЛНЕНИЯ
1. Промаркируйте три топливных шланга, затем отсоедините их от сепаратора паров
топлива. Закройте ко ...
