Ford Mondeo: Не рекомендуется – самостоятельно демонтировать передние сиденья
Водитель и соседний пассажир в Mondeo сидят на так называемых сиденьях типа «Anti-Dive». Меблировка сидений представляет собой встроенную составную компоненту «комфортной» системы безопасности (IPS) Ford: их консоли оснащены пиротехническими преднатяжителями ремней, которые во время аварии мгновенно натягивают ремни безопасности и тем самым до минимума понижают степень их неплотного прилегания. При ненадлежащем демонтаже сидений преднатяжитель может «воспламениться» и стать непригодным. Если вы все-таки решились на самостоятельный демонтаж, то получите соответствующую информацию у своего дилера Ford о необходимых предписаниях по безопасности.
Детские медицинские маски bcb.su.
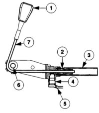
Снижает неплотное прилегание: пиротехнический преднатяжитель ремня безопасности
на передних сиденьях.
1 — Замок ремня безопасности с датчиком, 2 — Пиротехнический натяжитель ремня безопасности,
3 — Рабочий корпус, 4 — Газогенератор, 5 — Блок зажигания, 6 — Поворотный элемент,
7 — Трос натяжителя.

Чтобы система укладки и натяжения ремней безопасности не смогла нечаянно сработать, дайте повод разгрузиться «текущему напряжению»: после отсоединения аккумуляторной батареи подождите примерно одну минуту перед тем, как вытащить штекер системы укладки и натяжения ремней безопасности. В противном случае сработает подушка безопасности и пиротехнический преднатяжитель. И как следствие – получение травм помимо крупных расходов на новый системный комплект.
Переднее сиденье
ПОРЯДОК ВЫПОЛНЕНИЯ
Отсоедините аккумуляторную батарею и после этого подождите около одной минуты.
Полностью опрокиньте сиденье назад и… …вытащите основной штекер натяжителя ремней безопасности, датчика загрузки сиденья и – если установлена – штекер видеосистемы (указан стрелкой).

Вытащите основной штекер преднатяжителя ремней безопасности.
Вывинтите передние винты и… …полностью сместите сиденье вперед.
Демонтируйте снизу сиденья крепление ремня.

Демонтаж снизу сиденья крепления ремня (при монтаже затягивать с моментом 38 Н·м).
Отвинтите обе задние облицовки от шин и… …отвинтите задние винты сидений. Затем вытащите сиденье из салона.
Проведите монтаж в обратном порядке и затяните винты сиденья моментом 25 Н·м.
Демонтаж наружной антенны
Установленный на заводе радиоприемник для приема радиосигналов использует наружную
антенну. Наружные антенны достаточно прочно закрепляются – при условии, что при
прохождении моющих станций они пр ...
Демонтаж спинки задних сидений
Поскольку заднее многоместное сиденье спереди крепится к днищу стальными болтами
и сзади под спинкой зажимается, то здесь мы не будем подробно останавливаться –
для демонтажа приподнимите вначале ...
Другое на сайте:
Проверка с помощью универсального прибора – датчик частоты вращения
С помощью измерения сопротивления (универсальный прибор, смотрите также главу
Электротехническое оборудование) проверяется функционирование датчика частоты вращения.
Чтобы убедиться в том, что отс ...
Снятие и установка наконечника рулевой тяги/пылезащитного чехла/гофрированного
чехла
Снятие и установка наконечника рулевой тяги/пылезащитного чехла/гофрированного
чехла 1 - шплинт (заменять новым), 2 - гайка (40 Нм), 3 - пылезащитный чехол,
4 - шаровой палец шарнира тяги, 5 - ...
Сепаратор паров топлива (модели 1,6 и 1,8 л)
Сепаратор паров топлива закреплен на кронштейне сбоку карбюратора.
Снятие
ПОРЯДОК ВЫПОЛНЕНИЯ
1. Промаркируйте три топливных шланга, затем отсоедините их от сепаратора паров
топлива. Закройте ко ...
