Volkswagen Passat: Топливный фильтр на моделях с бензиновыми двигателями

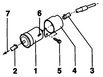
Топливный фильтр на моделях с бензиновыми двигателями
1 – топливный фильтр, 2 – топливный шланг, 3 – топливный шланг, 4 – держатель, 5 – болт, 6 – стрелка на корпусе топливного фильтра, указывающая направление потока топлива, 7 – к топливной магистрали двигателя
Снятие
ПОРЯДОК ВЫПОЛНЕНИЯ
1. Топливный фильтр закреплен на днище автомобиля перед топливным баком, см. рис. Топливный фильтр на моделях с бензиновыми двигателями. 2. Поднимите заднюю часть автомобиля и закрепите на подставках. Установите под топливный фильтр соответствующий контейнер. 3. Ослабьте хомуты и снимите с топливного фильтра топливные шланги. 4. Отвинтите болт крепления держателя топливного фильтра. 5. Извлеките топливный фильтр из держателя. УстановкаПОРЯДОК ВЫПОЛНЕНИЯ
1. Установите новый топливный фильтр таким образом, чтобы стрелка на корпусе фильтра совпала с направлением потока топлива через топливный фильтр. 2. Привинтите держатель топливного фильтра. 3. Подсоедините к топливному фильтру топливные шланги и закрепите их хомутами. 4. Запустите двигатель и проверьте герметичность топливной системы.
Топливный насос/датчик уровня топлива
На моделях с бензиновыми двигателями топливный насос вместе с датчиком уровня
топлива установлены в топливном баке. На переднеприводных автомобилях с дизельным
двигателем топливо из топливного бак ...
Регулировка троса акселератора (бензиновый двигатель)
Трос акселератора на моделях с двигателями 1,6-I и 1,8-I
1 – элемент крепления троса акселератора. При снятии повернуть на 90° против
часовой стрелки; 2 – уплотнительное кольцо троса акселератор ...
Другое на сайте:
Нагрев холодного дизельного двигателя – устройство предварительного разогрева
Согласно практическому опыту, при холодном пуске дизельные двигатели тяжело выходят
только на первой стадии. Двигатели с непосредственным впрыскиванием, такие как в
Mondeo, на наших широтах запуск ...
Проверке и замена скользящих графитовых щеток генератора
Замена регулятора напряжения Для проверки и замены скользящих графитовых щеток
генератора и регулятора напряжения необходимо разобрать генератор. Разборка генератора
будет показана на примере авто ...
Измеритель потока воздуха
Предупреждение При установке раструба воздухозаборника установите новую прокладку.
Перед ввинчиванием болтов крепления измерителя потока воздуха нанесите на резьбу
болтов средство, препятствующее ...
